1. Standard material Seal: PTFE F-PTFE Elastomer: NBR NBR L ring: POM POM or nylon PA
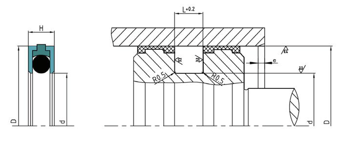
2. Applications DGDA consists of a sealing ring, two L-POM (Ф400 mm or more in diameter with a PA) for urging the support ring and a rod integral O-ring seal combination. Support ring from the support and guiding role to ensure a tight seal environment. O-ring seals rely on the force urging the piston rod to provide a seal effect. In mineral oil, water-based lubricant, a modified water-based lubricating fluid and other liquids used. Design and apply reference Hunger's GGDA series standards. 3. Features and Benefits 1. Easy to install 2. High wear 3. No stick-slip phenomenon can be anti-extrusion.