Standrad compact seal for wide application. Same properties with SPG. Design and apply please referring to NOK’s SPGO
4.Characterisstics
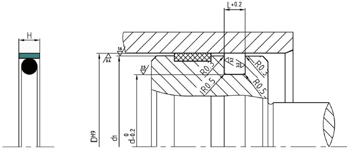
A combination of a based material slipper seal of PTFE with law coefficient of friction, no stick-slip behavior and high wear resistance. Due to its double sealing property,there is a save of installation space.